
Apple‘ın eski Wall Street analisti şirketin teknoloji piyasasında büyük bir deprem etkisi yaratacak bir cihaz geliştirdiği iddiasını ortaya atmıştı.
Apple Glasses (Apple Gözlük) olarak adlandırılması beklenen Apple‘ın AR gözlüklerinden bahsediyoruz. Apple Watch ve diğer Apple cihazlarını üreten firma olan Quanta‘nın başkan yardımcısı, bu yeni giyilebilir ürünün gelecek yılın sonuna kadar piyasaya sürülebileceğini söylüyor. Son haberlere göre cihazın kod adı: T2888 ve işletim sistemi olarak Reality Operation System (rOS) kullanacak.
Apple, henüz böyle bir cihazın varlığını doğrulamadı. CEO Tim Cook geçtiğimiz Ekim ayında mevcut teknolojinin böyle bir ürün için yeterince olgun olmadığını söyledi. Ancak Cook’un yorumlarından daha 8 gün sonra Apple tarafından yapılan bir patent başvurusu şirketin gözlüğün işletim sistemi ile ilgili patent aldığını ortaya çıkardı.
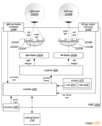
Bugün ortaya çıkan patent ise “Göz İzleme Sistemi” olarak adlandırılıyor ve “bir kullanıcının gözlerinin kafaya monte edilen bir ekranda hareketini ve konumunu algılar” şeklinde patentte teknoloji anlatılıyordu. NIR ışık ve sıcak aynaların yanı sıra kullanıcının yüzünün her tarafındaki göz izleme kameraları (bunlar NIR veya yakın kızıl ötesi kameralar) kullanılıyor.
Patente göre sıcak ayna kullanıcının gözlerine ışık gönderir. IR ışığı gözlerden sıcak aynaya ve daha sonra göz izleme kameralarına yansır. Böylece kullanıcının gözlerinin hareketini takip etmesi sağlanır.
Bu patent başvurusundaki teknolojinin gerçekten kullanılabilir olacağını garanti etmemekle birlikte Apple Glasses adında bir ürünün tanıtımı tahminlerimize göre çok uzakta değil.
En son teknolojik gelişmelerden haberdar olmak için takipte kalın.
Site bildirimlerini açık tutmayı unutmayın.

