
Yakınlarda Microsoft tarafından gündeme getirilen Andromeda cihazının söylentileri, iddia edilen Surface Phone ile karıştırılıyor ve son zamanlarda şirket tarafından alınan yeni bir patent ortaya çıktı.
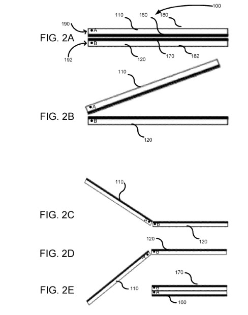
“Serbest durma fonksiyonlu menteşe” başlıklı patent, en azından ikili ekran içeren bir cihazda uygulanabilecek teknolojileri tanımlıyor. Bunlar, ekranların birbirine göre tam 360 derece döndürmesini sağlayan bir menteşe mekanizmasıyla birleştirilecek. Bahsedilen teknolojilerle bir çok başka özellik entegre edilebilir ve menteşelerin “sayısız avantaj” sağladığı söylenmekte.
Microsoft, bu tür aygıtlara genellikle bağlı olan “sorunlu” menteşeleri geliştirmeye çalışmak için çift ekran aygıtlarının artan popülaritesinden bahsetmekte. Modern dünyada, cep telefonu ekranlarının ekran boyutunu daha da artırmak, telefonların boyutlarını artırmak anlamına geliyor. Şirkete göre, tabii ki pek çok tüketici tarafından bu durum kullanımda zorluklar yaratacağı için hoş karşılanmayacak. Bu yüzden katlanabilir ikili ekran bugünün dünyasında önemli hale geldi.
Görünüşe göre Microsoft‘un katlanabilen çift ekranlı bir cihaza olan ilgisini gösteren ilk patent bu değil. İlk olarak, kod adı Andromeda olan Surface Phone’ın bir ve aynı model olduğu anlaşılmasına rağmen, kaynaklar bu durumun olmayabileceğini belirtti.
Tabii ki, bu patentler aylar önce Microsoft tarafından alındığından Andromeda cihazıyla ilgili tüm haberleri temkinli yaklaşmakta fayda var çünkü ortaya çıkan sızıntılar şirketin mevcut planlarından hiçbirini temsil etmeyebilir.

