
Çift ekranlı katlanabilir cihazlar geleceğin cihazlarında büyük rol oynayacak. Microsoft gibi büyük elektronik devleri de bu teknolojiler üzerinde çalışmakta.
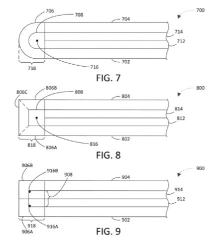
Üç ekranlı cihaz piyasada neredeyse hiç bulunmamakta, yeni bir Microsoft patenti bunun olasılığını göstermekte. Fakat üçüncü ekran olması gereken yerde değil menteşesinde bulunmakta. Aşağıdaki her bir resim için, üçüncü ekran alanı 06 ile biten numaralarla tanımlanıyor ve 08’de biten numaralarla tanımlanan menteşe üzerine monte edilmiş.
Patent, cihazın başlangıçta iki ana gösterge alanı arasında bulunan menteşenin durumunu belirleyeceğini ve bunun tam olarak açıldığında, tamamen açıldığında veya açıldığında bilinebileceğini ima etmekte. Daha sonra, menteşenin (ve dolayısıyla, iki ana göstergenin) konumuna bağlı olarak, üçüncü ekran bölgesi, daha büyük ekranların doğrudan ya da her ikisiyle de ilişkili olabilecek ilgili bilgileri gösterecek.
Sağlanan ikinci bir örnek, cihazın ilk çıkış bölgesinde görüntülenen bir uygulamadan ikinci gösterim bölgesinde farklı bir uygulamaya geçmek için üçüncü ekran alanı ile etkileşime girebildiği cihazın ses çıkışı ile ilgili.
Patent, aynı zamanda, Şekil 7,8 ve 9’da görüldüğü gibi, katlandığında, katlanabilir bir ekran veya cihaz katlandığında iki veya üç parçaya ayrılan bir ekran dahil olmak üzere, üzerine monte edilen menteşenin ve ekranın nasıl yerleştirilebileceğine dair çeşitli örnekler de içermekte.
Her zaman olduğu gibi, patentlerin her zaman gerçek ürünlere dönüşmediğini belirtmek önemli, ancak Microsoft‘un böyle bir cihazı üretme şansı var.





